Advanced Plane Positioning Techniques for Mechanical Machining and Fixture Design
The machine is a very important production technology equipment in the processing and production of mechanical products. Therefore, when analyzing the structural design of the machine tool fixture, it must be based on the processing requirements of the workpiece and the positioning that the enterprise can already determine. How to choose?
The surfaces that are often selected for positioning on the workpiece include planes, cones, cylinders, forming and their combinations, the selection of positioning elements, including the structure, shape, size and layout of positioning elements.

Main Support
1. Support Nails
There are three types of support piles with fine reference, and reference side surface setting coarse. Pad support pins can be added, and when using the finishing nails to support the base, the assembly work is a polished finish for high reliability.
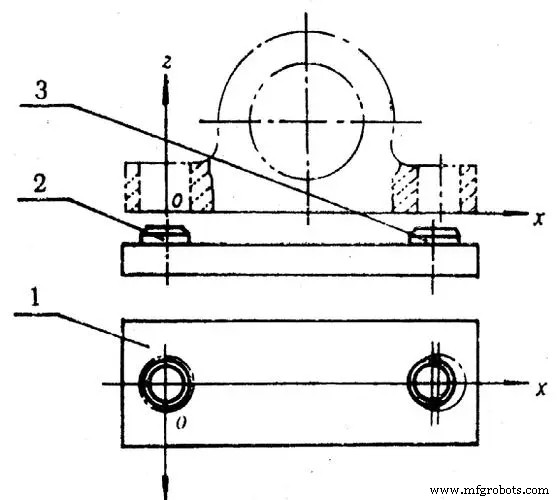
2. Support Plate
There are two different types of support plates, one type is mainly used for supporting the side and top surfaces, and the other is used for the bottom surface of the foundation, both of which are suitable for precision datums. The support plate is fastened on the clamping body with screws, and a tapered pin should be added or the support plate should be inserted into the groove of the clamp. When using the following two important support plates, the working surface should be smoothed after assembly, so that we can meet the requirements of ensuring the high quality of the enterprise.
3. Adjust The Support
It is suitable for rough datum positioning with large changes in shape and size, and also for workpieces with the same shape and different sizes, and also for special adjustable clamps and group clamps.. Adjust once before processing a batch of workpieces, and then lock them with nuts .
4. Self-aligning Support
Where the support position changes automatically with the workpiece positioning changes to the appropriate reference surface position. Corresponds to a fixed support, limited to only one degree of freedom. Due to the increased number of contact points with the positioning datum, the rigidity and stability of the workpiece can be improved. Applied to machining production of mechanical products or rough reference positions where rigidity is insufficient.
Auxiliary Support
In order to ensure the stability of the system and enhance the rigidity of the workpiece when positioning the workpiece, it is usually solved by technical auxiliary support. It can not only help students to bear the supporting force in the main theoretical support, but also ensure that the workpiece does not leave their positioning surface.
1. Spiral Auxiliary Support
Auxiliary supports can improve the installation rigidity and positioning stability of the workpiece, but should not limit the freedom of the workpiece. When in use, in order to adapt to the position change of the support surface in the processing and production of mechanical products, the workpieces should be adjusted one by one. The advantage of this auxiliary support is that the structure is relatively simple, but the disadvantage is that the efficiency is very low.
2. Self-positioning Auxiliary Support
The support pin is higher than the support surface. When a workpiece is installed, the support pin is set as the reference surface to be pressed down, and the reference surface is positioned with the workpiece mainly through the support to keep the students in contact with the other society, and then locked. It is suitable for occasions where the weight of different workpieces is light and the cutting load of vertical management is less affected.
3. Push-pull Auxiliary Support
The support pin is lower than the support surface. When installing the workpiece, the support pin can be pushed to contact the positioning surface for machining and production of mechanical products, and then locked. It is suitable for occasions where the weight of different workpieces is heavier and the cutting workload of vertical management has a great influence.
4. Hydraulic Locking Auxiliary Bracket
This auxiliary support fixture is made through a threaded connection and requires pressure on the mains. Under the action of a spring, the support pin contacts with the workpiece, and is modified by the oil clamping set, and the support pin locks the thin oil pressure chamber.
Manufacturing process
- Mastering Machining Operations: Essential Tools & Techniques
- VSC Series Vertical Pick‑Up Turning Machines: Streamlined Workpiece Handling & Precision Machining
- Master CNC Machining: Expert Tips & Best Practices
- Microscope: The Essential Inspection Tool for Machining Precision
- Understanding and Overcoming Workpiece Deformation in Machining Centers
- Precision Machining: Proven Techniques for Achieving Workpiece Accuracy
- Proven Techniques for Achieving Precise Workpiece Accuracy in Machining
- 5‑Axis Machining: Key Benefits and Trade‑Offs for Modern Manufacturing
- Proven Technique to Maximize CNC Workpiece Accuracy
- Advanced CNC HMC Machining Centers for Superior Production Efficiency