DIY 100W Subwoofer Amplifier: Compact, Cost-Effective Bass Boost
Are you looking for a way to achieve a noiseless and high-quality bass sound? What you need is a subwoofer amplifier circuit. Not only is it compact but also inexpensive to build. What’s more, it can serve your gadgets or systems durably.
A subwoofer driver
Source; Wikipedia
Today, we will design a subwoofer/stereo amplifier circuit that produces low-frequency audio signals ranging from 20Hz to 200Hz. In addition, the sound output power is 100W, and it uses a 4-ohm speaker load for its operation.
- What are Subwoofer Amplifier Circuits?
Subwoofer amplifier circuits are loudspeakers that produce low-frequency audio signals. In other words, they ensure that the bass quality of your loudspeaker increases by amplifying the input audio signals. Similarly, they eliminate any harmonic distortion.
An example of a subwoofer is the passive subwoofer. It gets power from an external amplifier, but it also has a speaker enclosure type design.
A loudspeaker
Source; Wikipedia
- Subwoofer Amplifier Circuit Principle
The principle of a subwoofer amplifier circuit involves amplifying the audio signals of low frequencies.
- First, the amplifier filters the audio input signal to eliminate high-frequency signals.
- Next, a voltage amplifier amplifies the low-frequency signals.
- Afterward, several configurations raise the low voltage signal to a needed level.
- Lastly, a transistor converts the amplified version of a low-frequency sound into power signals. Eventually, the power signals produce bass/ loud bang and minimal noise.
Pro-Tip
- For the best coupling to air volume of the room and best efficiency, position the subwoofer speaker in a corner.
- Additionally, use enclosure variations to help reduce the amplifier power requirements and increase the efficiency of the subwoofer drive.
- When on a personal connection, ensure you use anti-virus to scan your device to reduce the chances of infected devices.
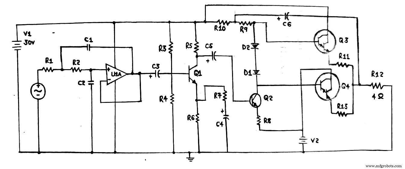
100-Watt Subwoofer Amplifier
Circuit diagram
The Circuit diagram of a 100-Watt subwoofer amplifier
Circuit Components
As per the diagram above, we can see that the components in making a 100 Watts stereo amplifier circuit include:
- Dual power supply – +/-30V
- Q1 – 2N222A
- Q2, Q3 – TIP41
- Q4 – TIP147, PNP
- R1, R2 – 6K
- R3 – 130K
- R5 – 15K
- R6 – 3.2K
- R7 – 300 ohms
- R8 – 30 ohms
- R9, R10 – 3K
- D1, D2 – 1N4007
- C3, C5, C6 – 10uF, electrolyte
- C4 – 1uF, electrolyte
- C1, C2 – 0.1uF, electrolyte
Depending on the components, we’ll have amplifier sub-circuit ideas that also come in handy during your amplifier project.
Audio Filter Design
For the first design, you’ll use an Operational amplifier LM7332 to construct a Sallen-Key low pass filter.
A Sallen-key filter topology
Source; Wikipedia
Now, let’s assume the cutoff frequency like 200 Hz, and the quality factor is 0.707. Additionally, let’s have the number of poles equaling one and C1 and C2 values equaling 0.1uF.
Therefore, to find a similar value of R1 and R2, we can use the formula below by substituting known values.
R1 = R2 = Q/(2*pi*fc*C2)
The resulting value for each resistor is 5.6K. However, we’ll settle for 6K for R2 and R1 for better accuracy.
We’ll not include the resistors at the non-inverting terminal for the adjustable low-pass filter. It’s because we want a closed-loop gain filter and not one that has a short at the output terminal.
Pre-Amplifier Design
In a pre-amplifier design, we’ll apply the class A operation of the 2N222A transistor.
(transistors)
We’ll further need a supply voltage of 30V, a load resistor of 4 ohms, and an output power of 100W.
We can have a collector quiescent voltage, half the supply voltage (15V), and a collector quiescent current of 1mA. Then, when calculating the load resistor value, it should equal 15K.
R5 = (Vcc/2Icq)
Base Current is, Ib = Icq/hfe
If we substitute the value of AC gain/ have in the above formula, the base current should be 0.02mA. Likewise, Ib or bias current is often ten times the base current. Therefore, it totals up to 0.2mA.
Also, the emitter voltage/Ve, roughly 12% of power supply voltage, is at 3.6V. You can now get the Vb/voltage base by adding 0.7 to Ve, i.e., 4.3V.
The formula below helps in getting the values of R4 and R3;
R3 = (Vcc – Vb) Ibias and R4 = Vb/ Ibias
If we substitute the values, R4 will be 22K whereas, R3 will be 130K.
The emitter resistor’s resistance (Ve/Ie) is at 3.6K, a value shared by R7 and R6.
R7 acts as the feedback resistor, and it functions to decrease C4’s decoupling effect. To get the value of R7 only, we calculate the values of gain and R5, which is 300 ohms. Therefore, the R6 value becomes 3.2K.
Finally, the value of C4 is 1uF since the emitter resistance should be more than the capacitive reactance of C4.
Power Amplifier Design
The power amplifier AB has a class AB mode operation that uses Darlington transistors, namely TIP147 and TIP142. Hence, the biasing diodes you select should have similar thermal properties to the transistors, i.e., 1N4007.
A 1N4007 diode
Source; Wikimedia
3K for the resistor R9 is suitable because the low bias current requires a high bias resistor value. Moreover, the power amplifier gets a high impedance input from the driver stage. Thus, we’ll use the TIP41 power transistor in a class A mode operation.
Value of R8 equals both the emitter current (0.5A) and emitter voltage (1/2Vcc- 0.7) values. The final value becomes 28.6 ohms, but in this case, go for a 30 ohms resistor.
Bootstrap resistor R10 should offer high impedance to transistors TIP147 and TIP142. Therefore, 3K is recommendable.
Subwoofer Amplifier Circuit Operation
The step-wise explanation gives the basics of a subwoofer amplifier circuit operation.
- The Sallen-Key low pass filter from the above designs filters out the audio signal. Only frequencies equal to and below 200 Hz pass the filter as the remaining undergoes filtration.
- The input of Q1 through the coupling transistor and C3 receives the low-frequency signal. Since Q1 operates in class A mode, it will improve the version of the audio input signal at its output.
- Then, Q2 converts the amplified signal into a high impedance signal before passing it to a class AB power amplifier.
- TIP147 and TIP142 give a complete cycle of the output signal. One transistor conducts for a negative half cycle while the other is for a positive half cycle.
- Furthermore, R13 and R11 reduce the differences amid the matching transistors.
- The diodes keep minimal cross-over distortion.
- In the end, the high-power output signal operates a subwoofer/loudspeaker with a low impedance, approximately 4 ohms.
Applications of Subwoofer Amplifier Circuit
A couple of applications of a subwoofer amplifier circuit include;
- For sound applications, you’ll mostly find them in places like concerts, electronic dance music, or reinforcement system applications. Even your car, some select theaters, or home theater systems have one of the circuits.
(a home theater system)
- Long-range transmission in case you want to draw the power for high-range antennas.
- You can use them as power amplifiers for the lowest frequency signals.
Limitations of Subwoofer Amplifier Circuit
They comprise;
- First of all, our circuit illustration is theoretical, with the output sometimes having distortion like in acoustic music genres.
- The biasing may also have some disruption since the filter circuit sometimes upsurges the DC level of the audio signal.
- Other times, the circuit can’t remove noise disturbances like conventional loudspeakers.
- Last but not least, the efficiency of the circuit reduces because of the linear devices that cause power dissipation.
Conclusion
In summary, a subwoofer amplifier circuit is the surest way to create a low-frequency sound. Our post highlights the steps to take in achieving a better sound application quality. However, if you still have questions or need clarification, contact us, and we’ll get back to you.
Industrial Technology
- From Vacuum Tubes to Integrated Circuits: The Evolution of Operational Amplifier Models
- Complementary NPN/PNP Audio Amplifier Circuit – Direct Coupling for Moderate Power
- California Food Manufacturing: Proven Strategies to Sustain National Leadership
- Opti Manufacturing: Leading Puerto Rico Company in Aerospace Cable Innovation
- Clap-Activated Switch: Build a Sound‑Responsive Circuit With and Without a 555 Timer
- IC 741 Operational Amplifier: Basics, Circuit Operation & Key Characteristics
- Noise Filter Circuit: Elevate Audio Quality for Music Players
- Professional Bass Boost Circuit: Elevate Your Sound System
- Light Detection Circuits: A Beginner‑Friendly Guide to Measuring Light Levels
- In-Depth Guide to the TDA1554Q Audio Amplifier IC