Industrial manufacturing
Industrial Internet of Things | Industrial materials | Equipment Maintenance and Repair | Industrial programming |
home  MfgRobots >> Industrial manufacturing >  >> Manufacturing Equipment >> CNC Machine

Sinumerik CYCLE95 Facing Program for CNC Lathe – Precision, Efficiency & Seamless Integration

Submit by: Brian

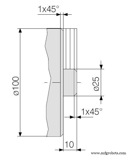
Drawing/Image

Sinumerik CYCLE95 Facing Program for CNC Lathe – Precision, Efficiency & Seamless Integration

CNC Program

G54
G53 G0 X610 Z350
T1 D1 G96 S250 M4 ; roughing tool
G0 X65 Z0
G1 F0.18 X-1.6
G0 X65 Z5
CYCLE95("CONT2",1,0.02,0.05,0,0.3,0.1,0.12,10,0,0,0)
G0 X200 Z100
M30

Contour subprogram: CONT2

G1 X100 Z-12
Z-10 CHR=1
X25
Z0 CHR=1
X22
M17

CNC Machine

  1. Comprehensive Fanuc G94 Facing Cycle Example for CNC Machining
  2. Siemens Sinumerik 4‑Axis Milling Program: A Practical CNC Example
  3. Optimized Sinumerik CYCLE95 Contour Integration in a Calling Program
  4. Sinumerik CYCLE95 Inside Turning Program Tutorial
  5. Comprehensive Siemens Sinumerik CYCLE95 Example: Outside Turning Program
  6. Comprehensive Siemens Sinumerik CNC Program Example for Precise Machining
  7. SINUMERIK 810T CNC Program Example for Precision Disk Machining
  8. CNC Lathe Guide: Turning a Diameter with a Simple G‑Code Program
  9. CNC Lathe Facing Program Demo – Tool Movements & Settings Explained
  10. Contour Turning Simplified: Full G72 Facing Cycle CNC Lathe Program Example