Industrial manufacturing
Industrial Internet of Things | Industrial materials | Equipment Maintenance and Repair | Industrial programming |
home  MfgRobots >> Industrial manufacturing >  >> Manufacturing Equipment >> CNC Machine

Comprehensive Siemens Sinumerik CNC Program Example for Precise Machining

Submit by: Machinist

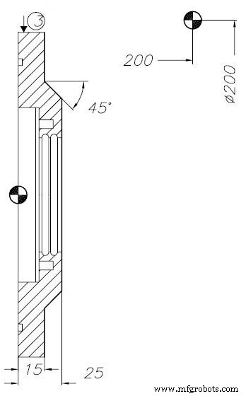
Drawing/Image

Comprehensive Siemens Sinumerik CNC Program Example for Precise Machining

CNC Program

%MPF128
N0005 G95 G96 S120 M41 M4
N0010 G00 X135 Z19 T1 D1
N0015 G1 X121 Z26 F.25 M8
N0020 G0 X188
N0025 Z14
N0030 G1 X186
N0035 X184 Z15
N0040 X130
N0045 X110 Z25
N0050 X60
N0055 G0 X150 Z150
N0060 T0 D0
N0065 X68 Z26 S60 T6 D6
N0070 G1 X64 Z24 F.2 M8
N0075 G0 Z26
N0080 X150 Z100
N0085 T0 D0 M9
N0090 M2

CNC Machine

  1. Fanuc CNC Programming Guide: A Simple, Feature‑Rich Example
  2. CNC Lathe Drilling Cycle Example: Sinumerik CYCLE81 for Efficient Machining
  3. Master Sinumerik 810 CNC Mill Radius & Chamfer Programming – Step‑by‑Step Example
  4. Siemens Sinumerik 4‑Axis Milling Program: A Practical CNC Example
  5. Comprehensive Siemens Sinumerik CYCLE95 Example: Outside Turning Program
  6. Advanced SINUMERIK 810T CNC Disk Machining Program – Part II
  7. SINUMERIK 810T CNC Program Example for Precision Disk Machining
  8. Example CNC Program: Selca Profile – Step-by-Step Guide
  9. Comprehensive CNC Programming Example for Selca Machines
  10. Comprehensive Osai CNC GTL Programming Guide: Step-by-Step Example