Comprehensive Osai CNC GTL Programming Guide: Step-by-Step Example
Osai 10 Series allows the programmers to make cnc programs using standard programming language (G1-G2-G3) or GTL, a high level programming language (GTL).
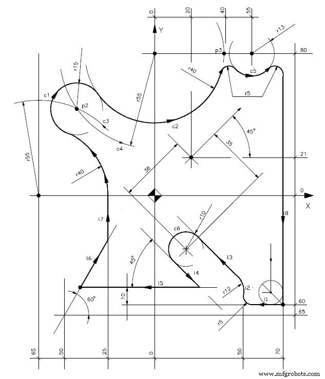
Here is a complete Osai GTL programming example.
Osai CNC GTL Program Example

N1 (DIS,"EXAMPLE 3") N2 S...F...T1.1M6 M... N3 o1=X20 Y21 a45 N4 l1=X0 Y-60,a180 N5 l2=X50 Y0,a90 N6 c6=o1 I-38 J-35 r10 N7 l3=c6,a135 N8 l4=c6,a-45 N9 l5=X0 Y-50,a180 N10 l6=X-50 Y-65,a60 N11 l7=X-25 Y0,a90 N12 c3=I-65 J0 r55 N13 c4=I0 J80 r55 N14 p2=c3,c4 N15 c1=p2,r-15 N16 p3=X40 Y80 N17 c2=c1,p3,r40 N18 c5=I55 J80 r13 N19 l8=X70 Y0,a-90 N20 G21 G42 l8 N21 Z-10 N22 l1 N23 r-5 N24 l2 N25 r12 N26 l3 N27 c6 N28 l4 N29 l5 N30 l6 N31 l7 N32 r40 N33 c1 N34 c2 N35 r-5 N36 c5 N37 r-5 N38 l8 N39 G20 G40 l1 N40 G Z20 N41 X... Y... M30
CNC Machine
- Fanuc CNC Programming Guide: A Simple, Feature‑Rich Example
- Fanuc CNC G81 Drilling Cycle Program – Step-by-Step Example
- Beginner CNC Slot Milling Program: Simple Example & Step‑by‑Step Guide
- Master the G84 Tapping Cycle: Practical CNC Programming Guide
- CNC Milling Arc Example: Using G2 with I & J Parameters
- CNC Pocket Milling Example: Peck Milling Tutorial
- Example CNC Program: Selca Profile – Step-by-Step Guide
- Comprehensive CNC Programming Example for Selca Machines
- Comprehensive Osai GTL Programming Guide for CNC Machinists
- Comprehensive CNC Programming Guide for Osai 10 Series – Example with Plane Rotation and Parametric Repeat