Comprehensive Guide to Shaft Keyway Design and Key Sizing: Calculations, Selection, and Standards
Shaft key selection is crucial in avoiding premature failure on keyed joints. Shaft keyway and keys are used to transmit torque from shafts to mechanical transmission elements such as gears, pulleys, etc. using a keyed joint. They can be made using either a standard stock material such as key stock or custom machined to suit the application.

Generally, the nominal shaft diameter is used to specify the key size according to various standards such as BS4235 and the widely available rectangular key is used for most of the applications. This way a keyed joint is oversized to withstand all the loads and the standards does not specify key material or the joint limitations. But careful consideration must be given as sometimes even the largest key fails due to unforeseen miscalculation, not to mention longer or larger key also weakens the shaft.
Assuming that the shaft size and the element have been designed to suit the torque and bending strength, then ensuring that the key selected suits that specification is crucial for safe mechanical transmission. Sometimes, the shaft key is selected to fail at a limit safeguarding the shaft, gear, and other elements. In this case the keyed joint works like a scarifying fuse.
Shaft key selection criteria
Let us delve into the important selection criteria to consider when choosing a keyed joint. The following 8 critical factors must be considered during the design and selection of a shaft key.
The key type or the joint type is generally chosen during the late conceptual stage or early embodiment design stage of the product design. But during the design configuration or the detailed design stages of the product design, the keyed joint must be evaluated for shearing and compressive stress failures.
Key types
There are four main groups of shaft keys available, viz., sunk key, saddle key, tangent key, and Round keys. Each has different characteristics and load-bearing capabilities; hence the correct shaft key must be selected for the application based on its characteristics and benefits.
| Key type | Shaft key usage | |
|---|---|---|
| Sunk keys | Rectangular keys | A rectangular key is generally used for shaft diameter between 1” (25 mm) and 20” (500 mm) |
| Generally, these have a reduced effect on the shaft due to its shallow keyway depth | ||
| Square keys | A square key is used if the deeper key depth is required to transmit torque. But ensure the weakened shaft can support the load. | |
| A square key is used for shafts diameter up to and including 1” (25 mm) | ||
| Parallel sunk keys | Parallel sunk keys are widely available and are one of the easiest to install | |
| If possible, use set screws in the hub to hold it down to stop it from sliding out during operation | ||
| Gib head sunk keys | These are very similar to rectangular/parallel keys, but it is easier to remove due to the head | |
| Feather keys | Feather keys allow the hub to move axially while transmitting the rotational torque | |
| Woodruff keys | Use it for lower loads and can accommodate any tapered shafts/hub connection. | |
| Saddle keys | Only use it for very light unidirectional loads | |
| Tangent keys | Can be used on slow bi-directional large torque applications. | |
| Not recommended for high frequency directional change | ||
| Round / Circular Keys | Used only for very low torque and speeds | |
| It can be fitted by drilling and reaming the shaft and hub assembly together | ||
| Key diameter to be approximately sixth of the shaft diameter | ||
#productdesigntips
- Sometimes the shaft diameter is dictated by other elements such as bending resistance, bearing installation, etc. In that case, the key can be sized smaller to suit the torque rather than the shaft diameter.
Key material
Typically, shaft keys are made from either medium carbon steel or stainless steel. But they can be made from many different types of material such as aluminium alloy, bronze, copper, and brass to suit different application environments. For example, brass or bronze keys for marine propeller shafts and stainless-steel grade for use in food servicing equipment.
Generally, key steel is supplied as per BS46 and BS4235 and is an unalloyed medium carbon steel with reasonable tensile strength. Unalloyed medium carbon steels with carbon content ranging from 0.25% to 0.60% are used due to their ideal combinations of strength, toughness, and good machining characteristics. The following table provides a list of some common shaft key materials with their Ultimate Tensile Strength (UTS).
| Material | Brinell Hardness | Ultimate Tensile Strength (Mpa) | Notes |
|---|---|---|---|
| Carbon Steel | 225 - 275 | 500 | Provides good strength and can be altered through heat treatment to provide a higher degree of strength or wear resistance |
| High Carbon Steel | |||
| Alloy Steel | 300-350 | 600 | |
| Hardened Steel | 650 | 650 | |
| Martensitic stainless-steel | 197 | 655 | Use when higher material strenngth is required in mild corrosive environments |
| Austenitic stainless steel | 212 | 240-250 | Use on highly corrosive environment applications |
| Aluminium alloy | 30 | 120-130 | |
| Brass (C36000) | 60-80 | 280-320 | |
| Copper | 80-110 | 200 - 360 | |
Generally during calculations permissible compressive and shear strength are calculated from UTS using an appropriate factor of safety and failure theories such as maximum shear stress theory.
#productdesigntips
- The most popular grade steel is AISI 1045 (equivalent C45, EN8, 080M40), which can be hardened by heating the material to approximately 820-850C (1508 -1562 F) to increase the UTS.
- Ensure galvanic corrosion is considered if you use other materials.
- Keys manufactured using British standards should be manufactured from steel complying with BS 970 with a tensile strength of not less than 550 MN/m2.
Load type
Sometimes premature failures occur even when the shaft key is oversized for the maximum torque transferred. This is due to unforeseen load types such as shock, impact or force-induced due to bidirectional rotation. Variable-speed motors also see load fluctuations during their acceleration and deceleration phases in which the forces on the key change.
Although most of the keys are not suitable for alternating directional loads (rotational direction changes from CW to CCW or vice versa), keyways are still used in such applications. If the direction does not change frequently, the keyway can be used safely but careful consideration must be given to fatigue loads and acceleration torques.
\(T_m = (T_L + T_a) \)
\(T_a = JA\)
- \(T_m \) – Total required torque
- \(T_L \) – Load torque
- \(T_a \) – Acceleration torque
- \(J \) – Moment inertia
- \(A \) – Acceleration rate
If there are any axial or radial shock loading on the element that is been connected, then care should be taken to support the external axial and radial shock loads. This is to ensure the key is only transferring the torque in the rotational direction.
#productdesigntips
-
- Place the keyway in line with the radial force acting on the element.
- Most of the keys are not suitable for alternating directional loads and shocks.
Correct fit
It is vital to have the correct fit between the shaft keyway, key and the hub keyway. Standards such as BS 46, ANSI B17.1-1967 or JIS B 1301-1996 specify sizes and tolerances of the keys and keyways.
Generally, there are two classes of stock available for sunk keys mainly parallel keys. All the standards recognize this and specify tolerances for keyway so one could have two to four classes of fits.
The four classes of fit dealt with in this standard are intended to meet varying requirements as follows:
Clearance/Free fit – This is a relatively free fit where the hub is required to slide over the key when in use and only applies to parallel keys. (Using bar stock keys and keyseat tolerances)
Normal/Side fit – This is a relatively tight fit where the key is to be inserted in the keyway with minimum fitting, as is required for mass production assembly.
Close fit – Where an accurate fit of the key is required. In this class, the fitting will be required under maximum material conditions, and if it is required to obtain these conditions some selection of components may be necessary.
Interference fit – where a fit is required such that there is no possibility of play between the key and keyway in the shaft and hub. In this class of fit, hand-fitting will be necessary.
Keys & keyways specification
The fit will affect the life of the keyway and the following factor must be considered during the calculation. The fretting corrosion due to rotating bending and/or torsional oscillation has been proven in numerous endurance tests and is usually the crucial factor that leads to the failure of the shaft-hub-connection.
Fatigue & life safety factor
Like any other mechanical calculation, the safety factor is a key element of calculating, specifying and designing a keyed joint in mechanical power transmission. The relationship between allowable stress and specified minimum yield strength as per AISC code is Tension
Tension – \(0.45Sy < Sa < 0.6Sy \) Shear stress – \(τ_s = 0.4Sy \) Bearing /Compressive – \(Sa = 0.9Sy \) Bending – \(0.6Sy < Sa < 0.75 Sy \)Shaft torsional strength
It is important to remember that any keyway will reduce the shafts’ torsional strength due to stress concentration in the keyway corners and a reduction in the cross-sectional area of the shaft. Although it is assumed that the strength of a solid shaft is reduced by 75%, theoretically it can be calculated using H. F. Moore’s equation for the shaft strength factor. It is the ratio of the strength of the shaft, with and without the keyway.
\(e =1–0.2(w/d)–1.1(h/d)\)
\(e\) – Shaft strength factor \(w\) – Keyway width \(d\) – Shaft diameter \(h\) – Keyway depth (= Key thickness (t)/2)Fatigue stress concentration factor \(K_ft\)for keyways as shown in the figure below for the common keyway types of Sled-runner (a) and Profile keyway or end milled (b).

- Sled-runner – 1.44
- Profile keyway or end milled – 1.68
Shaft Key failure
The potential keyed joint failure include yielding, ductile rupture, fatigue and fretting fatigue of the key or the shaft keyway. It is often advantageous to size the keyed joint so that it will scarify itself and shear off by ductile rupture in the event of torque overload. Using the key as an inexpensive fuse to safeguard expensive machine elements.
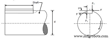
Key sizing
There are two types of forces that act on the key due to installation and power transmission. The compressive force (f1) induced by the tight-fitting of the key is very difficult to determine and if the correct tolerances are used as per the standards, then this will be comparably less.

Force F is induced on the side of the key as shown due to the torque transmitted and producing both shearing and compressive stresses. Resulting in the following two types of failure mechanics.
- Shear failure
- Compressive bearing forces
The compressive bearing stress on the contact plane
\(S_c= 4T/dhl\)
Average shearing stress across the shearing plane is calculated
\( τ_s= 2T/dwl \)
Where
- \(T\) – Torque
- \(d \)– shaft diameter
- \(w\) – key width
- \(l\) – Key length
- \(τ_s\)– Average shear stress
- \(S_c\) – Compressive bearing stress
The required key length can be obtained using either the maximum shear stress theory or by setting the average stress equal to the allowable shear stress.
The design permissible torque can be calculated from the above equation.
\( T_k \) = \(τ_sdwl/2\)
Where \(τ_s\) is designed permissible shearing stress for the applicable failure mode. From shaft design, the design allowed torque can be found using the following formula
\(T_s = πd^3 τ_d/16 K_f\)
If the key is selected to have the same design allowable stress as the shaft then the length of the key can be found using the following formula
\( T_k = T_s \)
\( Le = π d^2 / 8wK_f\)
Where
- \(T_k\) – Permissible torque for key
- \(T_s \)– Permissible torque for shaft
- \(L_e\) – Effective key length
- \(K_f \)– Fatigue stress concentration factor
References
- Collins, J. A., Busby, H., & Staab, G. (n.d.). Mechanical Design of Machine Elements and Machines.John Wiley & Sons.
- Hamrock, B. J., Schmid, S. R., & Jacobson, B. O. (2006). Fundamentals of machine elements: Bernard J. Hamrock, Steven R. Schmid, Bo O. Jacobson. Boston: McGraw-Hill Higher Education.
- Kurt M. Marshek, Robert C. Juvinall (2021). Fundamentals of machine component design. John Wiley & Sons.
Manufacturing process
- Designing UX for Seniors: A Comprehensive Guide
- Design for Manufacturability: A Practical Guide for Engineers and Designers
- Essential Phases of Designing & Constructing a Steel Plant
- Shaft Keys & Keyways: Types and Applications in Mechanical Joints
- Precise Cable Size Calculation for LT & HT Motors: Safety, Efficiency, and Cost Savings
- Design for Manufacturing: Key Principles for Product Success
- Essential Guide to Designing Effective Jigs and Fixtures
- Mastering Tooling & Mold Design: Your Essential Manufacturing Guide
- Expert Guide to Selecting Materials for CNC Machining
- Comprehensive CNC Plastic Machining Selection Guide