Oura Ring’s AI Helps NBA Players Detect COVID-19 Days Early
COVID‑19 remains a headline‑grabbing concern, and the professional sports sector is one of its most visible casualties. When the NBA and WNBA resumed play under isolation protocols in July, teams offered athletes the option of wearing the Oura Ring to continuously monitor their health.
According to Oura, the ring’s AI algorithms can flag the likelihood of COVID‑19 symptoms up to three days before they appear, boasting a 90 % accuracy rate.

The ring’s analytics platform, built in partnership with the Rockefeller Neuroscience Institute at West Virginia University, leverages machine‑learning models that ingest raw physiological data from the device’s embedded sensors. These models predict when a player’s body might begin to react to an infection.
Key data streams include blood‑pulse‑volume metrics—used to calculate heart rate, heart‑rate variability, and respiratory rate—alongside temperature, hand‑movement, and precise timestamps. All data are synchronized to a companion smartphone app, which then transmits the information to the cloud‑based AI engine for real‑time analysis.
Beyond a temperature probe and accelerometer, the Oura Ring houses a photoplethysmography (PPG) sensor, a technology long employed in medical devices and wrist‑worn wearables. Depending on placement, a PPG unit may use one or more red/infrared LEDs, green LEDs, or a combination thereof, together with a photodetector that measures reflected or transmitted light to derive physiological parameters such as heart rate and blood volume.

Infrared (IR) LEDs penetrate deeper tissue layers—reaching muscle—and thus provide richer hemodynamic signals. However, they are more vulnerable to motion artefacts and temperature variations. Green LEDs, by contrast, are less affected by motion but provide shallower tissue sampling. By incorporating an accelerometer to capture movement direction, the Oura designers mitigate motion noise and enable the use of IR LEDs in real‑world settings.
As illustrated below, a PPG sensor emits light that is reflected or transmitted through tissue, with the resulting signal captured by a photodiode.

This diagram demonstrates the core operation of a PPG sensor.
Typical PPG units combine LED emitters, optical detectors, and signal‑processing electronics. Pulse‑modulated light and synchronous detection reduce power consumption and reject ambient light interference.
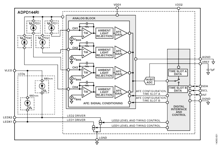
For example, Analog Devices’ ADPD144RI module features two 660 nm red LEDs and two 880 nm IR LEDs, paired with a four‑segment photodetector optimized for these wavelengths. The device’s analog front‑end performs transimpedance amplification, ambient‑light rejection, and programmable gain before converting the signal to digital form via ADCs and accumulating the results for downstream processing.

Block diagram of the ADPD144RI PPG module.
The ADPD144RI is engineered to operate from –40 °C to +85 °C, with an LED junction temperature tolerance of 105 °C and an ESD rating of 3000 kV—making it suitable for rigorous indoor medical deployments.
PPG technology dates back to the 1930s and now powers a growing array of medical and consumer wearables. Medgadget reported in April 2020 that the global medical‑wearable market was valued at nearly $13 B in 2019 and is projected to soar to almost $38 B by 2025.
While the Oura Ring represents a promising step forward, its predictive capabilities are still being validated. Key limitations include the limited number of independent studies on wearable COVID‑19 detection, susceptibility to motion‑induced measurement errors, and the mismatch between symptom onset and peak transmissibility. The FDA has not yet cleared any wearable device for COVID‑19 detection.
>> This article was originally published on our sister site, EDN.
Embedded
- Understanding the Oxygen (O2) Sensor: Role, Placement, and Failure Signs
- Sensirion Launches SCD40: Ultra‑Miniaturized CO₂ and RH/T Sensor
- Infineon Unveils XENSIV DPS368: Ultra‑Compact, High‑Precision Barometric Pressure Sensor
- Digital Magnetic Hall Sensors: Fundamentals, Design, and Automotive Applications
- Advanced Sensors Empower Wearable Health Tech: From Heart Rate to Temperature Accuracy
- Boreas Launches BOS1901CW: Ultra‑Compact, Low‑Power Haptic IC for Wearables
- Portable COVID-19 Diagnostic Clinic: Detailed Component Overview
- Contact‑Free Faucet with Door‑Activated Control – Safe & Smart COVID‑19 Solution
- Rapid Paper-Based Sensor Detects COVID-19 in Under 5 Minutes
- Wearable Tech Insights: Sensors That Keep You Safe